N-Gamz.com
Jeux Vidéo, Mangas/Books, Ciné et Game Music. Un crédo: Concession Zéro!



Les news/Previews

16 décembre 2016

Nintendo Switch et RV: + fort que le PS VR, c’est la console qui sert de lunettes 3D

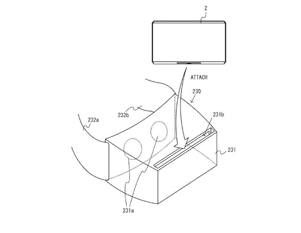
Divers brevets viennent de filtrer dans la presse au sujet du développement de la Nintendo Switch, la console de salon hybride de Nintendo qui peut tout aussi bien se brancher sur un dock pour jouer sur sa télé que s’emporter partout avec soi grâce à son écran tactile nomade.

Si beaucoup sont désormais connus et avérés grâce au trailer de présentation de la machine diffusé en octobre dernier, l’un d’entre eux a particulièrement attiré notre attention puisqu’il mentionne la façon dont la bête serait capable d’afficher des mondes en réalité virtuelle.

Chez Nintendo, il n’y aura pas de casque ultra onéreux à brancher à la console, mais c’est plutôt la console elle-même qui… servira de lunettes 3D pour la réalité virtuelle! De fait et un peu à l’image des smartphones que l’on clipse sur un support autour des yeux (le Google Daydream en photo d’en-tête en est un bon exemple), il suffira de faire glisser la machine directement dans une fente incorporée dans un simple support oculaire. Le système se chargera alors de dédoubler l’image, générant un effet de profondeur, et devrait suivre les mouvements de tête grâce au gyroscope intégré.

Un principe plutôt astucieux qui devrait permettre au dernier bébé de Nintendo de sauter dans le train de la réalité virtuelle à moindre frais… si tant est que la console soit assez puissante pour afficher des softs crédibles, surtout avec un écran ne faisant « que » 720p…

Nintendo Switch RV Brevet

 



About the Author

Neoanderson (Chapitre Sébastien)
Hardcore gamer dans l'âme, la quarantaine depuis peu, je suis le rédacteur en chef autant que le rédacteur de news et le vidéo-testeur de ce site (foncez sur la chaîne YouTube d'ailleurs). Amoureux des RPG nourri aux Final Fantasy, Chrono Trigger, Xenogears et consorts, je suis également fan de survival/horror. Niveau japanim, je voue un culte aux shonens/seinens tels que Ga-Rei, L'Ile de Hozuki, Orphen, Sprite ou encore Asebi. Enfin, je suis un cinéphile averti, orienté science-fiction, fantastique et horreur, mes films cultes étant Star Wars, Matrix, Sucker Punch, Inception et Tenet. N'hésitez pas à me suivre via mon Facebook (NeoAnderson N-Gamz), mon Twitter (@neo_ngamz) et mon Instagram (neoandersonngamz)!




 
Les dernières news!
 

 
stormforge

Stormforge : le jeu de Survie dévoile son gameplay en vidéo !

Roboto Games, le studio derrière Stormforge, a publié aujourd’hui une bande-annonce présentant quelques fonctionnalités de gameplay, et a confirmé que ce jeu de survie et d’artisanat fantasy en cel-shading trÃ...
by Neoanderson (Chapitre Sébastien)
0

 
 
street fighter 6 ingrid

Street Fighter 6 : la très « cosmique » Ingrid débarque en vidéo !

La facétieuse Ingrid fait son entrée, comme par magie, dans une nouvelle dimension pour dévoiler ses pouvoirs capables de déformer la réalité, avant son arrivée dans Street Fighter 6. Ingrid sera le quatrième et dernier...
by Neoanderson (Chapitre Sébastien)
0

 
 
We Are Xbox Asha Sharma Cry

We Are Xbox : Xbox explique comment il va retrouver son identité !

Dans un long message publié aujourd’hui sur le blog officiel Xbox et relayé sur tous les réseaux de la marque, Asha Sharma et Matt Booty ont lancé officiellement la campagne « We are Xbox ». Ce texte, signé par la ...
by Neoanderson (Chapitre Sébastien)
0

 

 
aphelion

Aphelion : le nouveau DON’T NOD s’offre un trailer pour Ariane !

Le développeur et éditeur français DON’T NOD a présenté une nouvelle bande-annonce pour Aphelion, son futur jeu d’action-aventure cinématographique à la troisième personne, lors du ID@Xbox Showcase. Le je...
by Neoanderson (Chapitre Sébastien)
0

 
 
Assassins-Creed-Black-Flag-Resynced.jpg

Assassin’s Creed Black Flag Resynced dévoilé et daté en vidéo !

Ubisoft annonce que Assassins Creed Black Flag Resynced, prochain titre de la franchise Assassin’s Creed, sortira le 9 juillet 2026. Le jeu sera disponible sur Ubisoft+, PlayStation 5, Xbox Series X|S et Windows PC. Développ...
by Neoanderson (Chapitre Sébastien)
0

 
 
007 first light keyart

007 First Light : Un trailer centré sur l’espionnage !

IO Interactive et Amazon MGM Studios dévoilent le trailer Rules of Spycraft, présentant les principales fonctionnalités de 007 First Light et révélant ce qu’implique le rôle d’une nouvelle recrue du MI6. Le numéro...
by Neoanderson (Chapitre Sébastien)
0

 




0 Comments


Be the first to comment!


Laisser un commentaire

Votre adresse e-mail ne sera pas publiée. Les champs obligatoires sont indiqués avec *